欢迎咨询
0531-62335966
0531-62335968
根据山东鼎诺节能环保服务有限公司工作计划及安排,现对全自动电化学水处理设备所需阳极板进行公开招标,择优选择供应商,有关事宜公告如下:
一、项目基本信息
1、项目名称:全自动电化学水处理设备阳极板
2、标段划分:一个标段
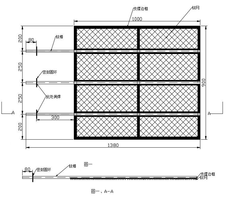
3、项目概况:对所需的阳极板进行采购,适用于电化学水处理电解工艺,钌钛铱涂层,涂层厚度>15um,贵金属含量每平方米≥15g,烧结工艺涂覆次数≥15次,基材选用TA1,适用于无氟环境下的循环水处理,电流密度<300A/㎡,技术要求及图纸如下:



说明:
(1)图中所用材料为TA2及以上材质,外部采用烧结工艺涂覆钌铱涂层,应用于循环水电解槽的阳极,使用寿命不低于5年。
(2)图中钛棒直径φ20mm,密封圆环前段80mm车M18的标准螺纹,具体加工样式见图三。
(3)密封圆环材料厚度不低于5mm。
(4)图二支撑边框选用TA2板材厚度5mm。
(5)制作完成后的板面平整度要求±5mm。
(6)垂直度要求:在钛棒上的M18螺栓旋紧后,密封面于钛棒最远端垂直误差不大于10mm。
(7)图中所有部件连接方式为焊接,除特殊要求位置(密封圆环)外均可分段焊接,要求焊接牢固,不得有开裂、砂眼等焊接缺陷。
(8)图中尺寸单位为:mm。
4、供货要求:提供最快交货期。
5.报价为含税、含运费、安装、培训、质保等增值服务总包价格,附供货清单和分项价格。
6、供应商应承诺长期免费提供在阳极板使用、维护、保养等方面的咨询服务。
7、付款方式:合同签订后,支付合同总金额的30%的货款作为预付款,制作完毕,初验合格,发货前支付合同总金额的30%的货款,后发货,货到验收合格,供方开具合同额全额13%增值税专用发票,一周内付合同总金额的35%的货款,留5%的质保金,合同签订后6个月内付清。
8、支付方式:承兑汇票或电汇。
9、招标人:山东鼎诺节能环保服务有限公司。
10、资金来源:自筹。
二、投标人资格要求
1、在中国境内注册,具备独立法人资格并有独立承担民事责任的能力;
2、具有有效的营业执照,并在专业技术、设备设施、生产能力等方面具有相应的资格和能力;
3、投标人营业执照经营范围应具备投标产品的生产或加工相关内容;投标人如为代理商,须出具生产厂家授权证明及生产厂家的营业执照;
4、投标单位须有较强的经济实力和良好的商业信誉及无违法违纪记录;
5、本项目不接受联合体投标;
6、资格审查方式:资格后审。
三、报名及投标的时间及方式
1、报名时间: 2022年8月19日-8月25日(上午8: 30-12:00,下午13:00-17:00)
2、报名方式:将报名文件发送至邮箱: sddn2007@163.com,报名文件包括:营业执照副本和法人授权委托书原件扫描件。
3、投标截止时间: 2022年8月25日下午17: 00。
4、投标方式:将投标文件发送至邮箱: sddn2007@ 163.com
5、投标文件内容包括但不限于:企业简介、报价单、主要产品(检验合格证、说明书、技术参数、防护等级、实物图片)、服务承诺、投标人认为需要提供的其他资料等。
四、开标的时间及方式
1、开标时间: 2022年8月26日上午10: 00。
2、开标方式:受疫情影响,本次采用网上开标方式进行。
3、由公司评标工作组对标书进行综合评审,评审期间请各位投标人保持电话畅通,以备咨询。
五、未尽事宜或需澄清的内容请按以下方式联系:
商务咨询: 赵倩倩 手机:17661296208
技术咨询:石磊 手机:15688829096
固定电话:0531-62335958